Los coches híbridos de Porsche serán más ligeros y potentes gracias a un motor eléctrico especial

Por: Volodymyr Kolominov | 12.11.2025, 22:41
Explorando el Poder Icónico: Un Análisis Profundo del Porsche 911 Carrera GTS Porsche 911 Carrera GTS. Fuente: Porsche

Porsche ha registrado una patente para un tren motriz híbrido que combina motores eléctricos de flujo axial compactos y ligeros del proveedor Yasa con un motor de combustión interna.

Qué se sabe

La patente se registró en la Organización Mundial de la Propiedad Intelectual (OMPI). El documento se aplica a cualquier automóvil de pasajeros, pero menciona específicamente el uso "en coches deportivos".

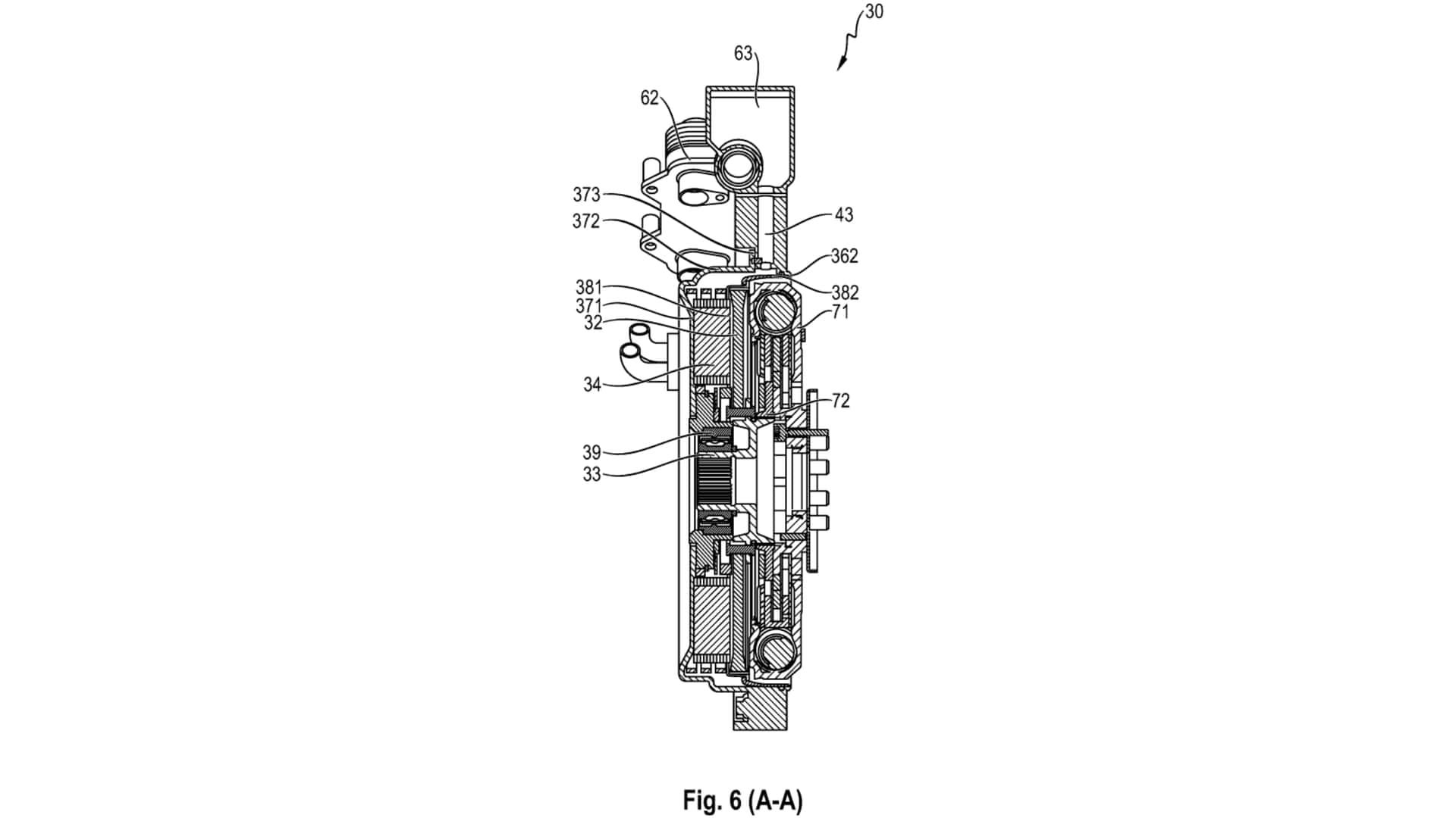
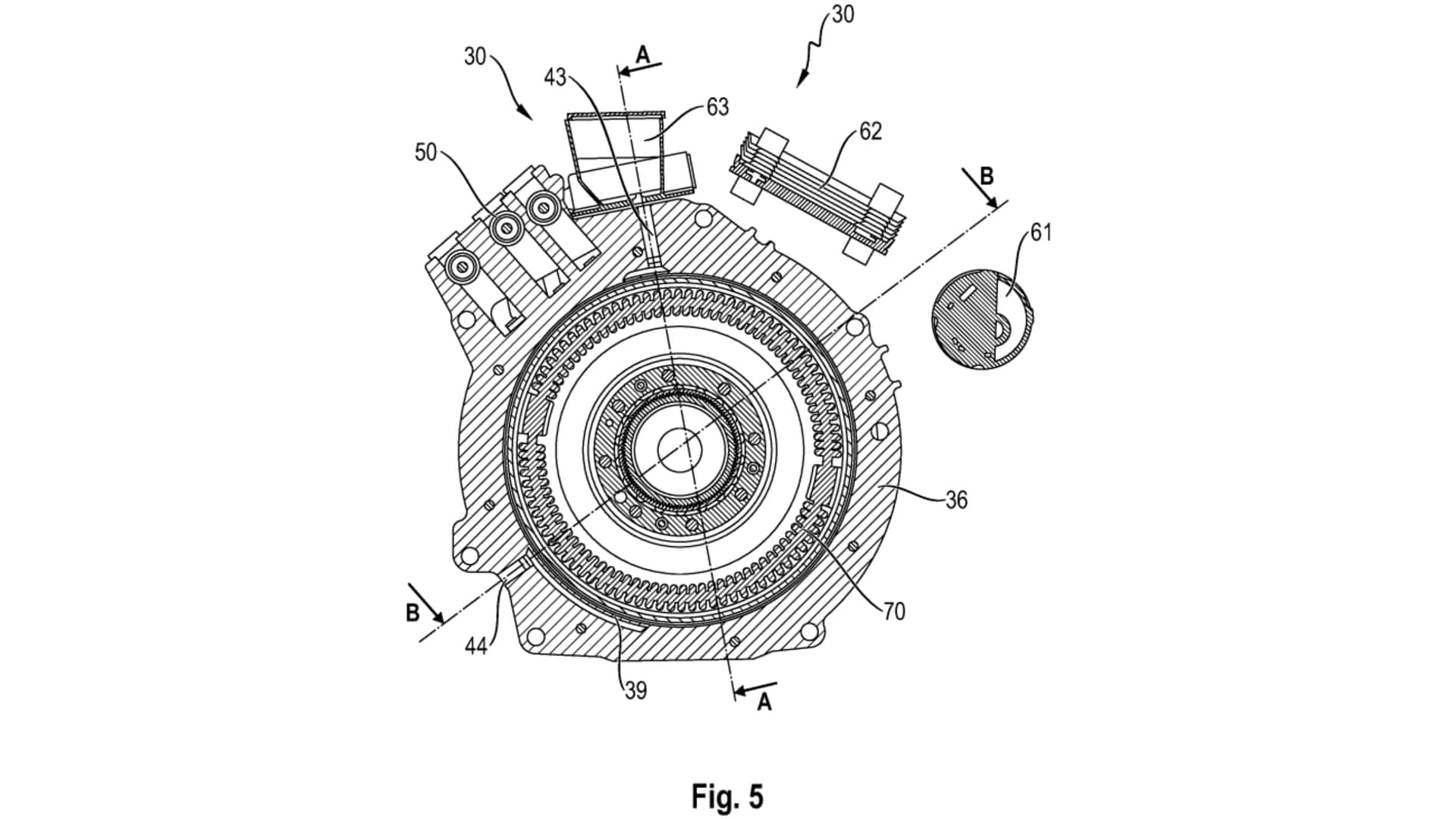
En lugar de instalar un motor eléctrico de flujo radial relativamente grande en la carcasa de la transmisión PDK, como Porsche hace actualmente en el 911 Carrera GTS, se ubicará un motor eléctrico de disco de flujo axial delgado entre el motor y la transmisión.

El motor de flujo axial (también conocido como "motor de disco") es un motor eléctrico donde el flujo magnético pasa paralelo al eje de rotación, a diferencia de los motores radiales convencionales donde el flujo es perpendicular al eje. Esto permite la creación de diseños más compactos, ligeros y eficientes con alta potencia y torque específicos, especialmente a bajas velocidades.

La patente especifica que el motor eléctrico y el motor de combustión interna trabajarán juntos a través de una transmisión de doble embrague. Gracias al diseño ultradelgado del motor eléctrico (en algunos modelos modernos, tiene solo 7.9 centímetros de grosor), no aumentará la longitud de todo el tren motriz.

Se afirma que dicho diseño contribuye a reducir la generación de calor. En combinación con una cámara en forma de cuenco o campana permeable descrita en el documento, el motor eléctrico y el motor de combustión interna deberían recibir suficiente refrigeración. La pregunta principal: ¿cuánta potencia puede generar este sistema híbrido?

Se sabe que las unidades más potentes de Yasa alcanzan más de 470 hp y 800 Nm de torque. El híbrido Ferrari SF90 utiliza tres motores Yasa con una potencia total de 217 hp, mientras que dos motores Lamborghini Revuelto desarrollan algo menos de 296 hp. Pero ambos sistemas funcionan en combinación con grandes motores V8 y V12.

Si Porsche combina el nuevo motor de flujo axial con un motor turbo de 3.6 litros, la potencia total del sistema podría superar los 800 hp.

Fuente: Carbuzz